作者:陳佩奇
來源:房產大象(ID:FCDX2016)
一顆解藥來了。
不能保證百分百治本,治治標也是好的。
作為地最少的一線城市,只有1997平方公里的深圳,常被吐槽“房價太高,是因為沒地蓋房子”。
被diss也不是沒道理,去年深圳賣了4.5萬套新房住宅。
面對洶涌的剛性+改善需求,深圳的新房住宅真不夠用。
根據廣發證券對深圳市官方數據測算,截至2016年底,深圳全市存量住房約為4.57億米,其中商品房只有1.29億平,而按2000萬實際人口計算,人均只有6.5平,僅約為廣州的1/6。
工業用地改居住用地
住宅供應量緊張,剛需買房有苦難言。
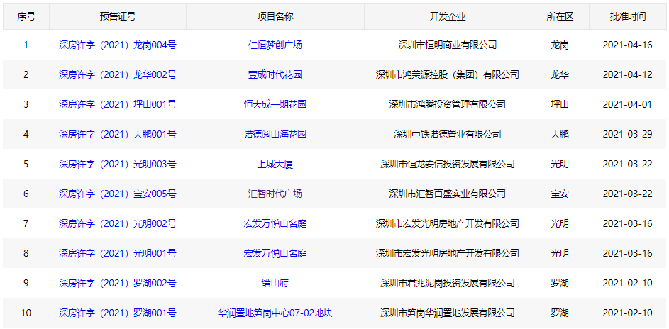
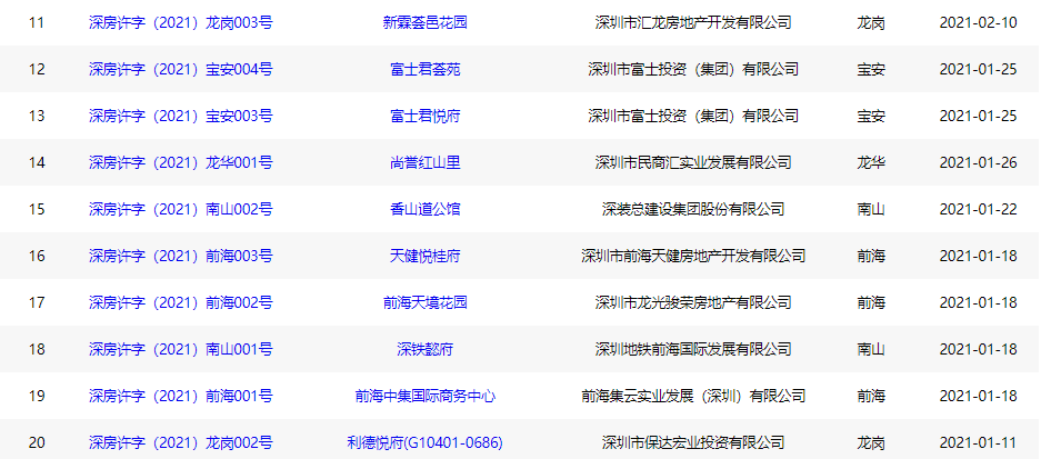
剛剛過去的一季度,深圳新房一共預售23個樓盤,其中住宅有18個。



這些住宅新盤,除了比較偏遠的板塊,要么售罄,要么賣了大半。
一季度,深圳工業用地出讓8宗工業用地、1宗商業用地。
1月,成交2宗工業用地,面積4.4萬㎡。
2月,成交2宗工業用地、1宗商業用地。
3月,成交4宗工業用地,面積5.5萬㎡。
而住宅用地只出讓了1宗,還是“商業+居住”混合用地。
(2月26日,開市客聯合星河實業,總價22.32億競得商住用地,含二類居住用地用途)。
深圳不缺工業用地,缺的是住宅用地。
居住土地緊缺與城市發展的矛盾日益尖銳,急需有效盤活存量用地,開拓發展空間。
經歷了轟轟烈烈的SFL、JYD事件,深圳領導班子換防,小產權房被央視點名……個中深意,想必大家有所了解。
打開深圳規自局官網,最近好幾份地塊規劃調整公告齊刷刷地說了一件事——新型工業用地調整為二類居住用地。

不吝嗇地講,這是一次創舉!
目前,深圳坪山、龍崗公示了地塊規劃,由新型工業用地調整為二類居住用地,調整了13塊住宅地塊。

盡管地塊位置集中在龍崗、坪山,數量也不算多,面積也不算大。這一次調整更大的意義在于釋放用地探索與試點的信號,未來不排除會在其他區域試點。
土地用途調整早有鋪墊
如果回顧前幾年土地政策動向,就不會認為這次用地用途調整很詫異了。
早在2019年,深圳發布《關于規范已出讓未建用地土地用途變更和容積率調整處置辦法的通知》。

當時就明確提出,為加強土地用途變更和容積率調整管理,依法妥善解決歷史遺留問題,盤活存量土地,保障公共利益,促進城市高質量發展,根據相關法律、法規,結合我市實際,制定本辦法。辦法有效期5年。
并且提到,商服用地、工業用地、物流倉儲用地等符合規定可變更為居住用地,但居住用地部分需要建可售人才房。
2020年8月初,國家自然資源部印發《關于支持粵港澳大灣區和深圳市深化自然資源領域改革探索意見的函》。
從國土空間規劃、空間用途管制、土地利用、耕地占補平衡、不動產登記、土地只征不轉等九個方面提出意見,支持廣東進一步提升自然資源要素市場化配置程度和效率,激發市場活力和創造力,推動自然資源領域治理體系和治理能力現代化,助力大灣區和深圳先行示范區建設。
這份意見提到,深圳將率先探索國有土地使用權續期路徑、利用存量建設用地開發建設住宅、分類盤活利用存量工業用地等一系列改革。
簡單來說,就是放權,允許深圳先行先試,探索分類盤活存量工業用地。
這項舉措有利深圳將部分工業用地調整用途,轉變為住宅用地,建設住宅和人才房,以滿足市民巨大的需求。
而這也是為深圳工業用地調整為住宅用地埋下伏筆。
隨著居住用地供應量增加,未來深圳房價會階段性穩一穩。
如果寄希望靠這顆解藥治病,恐怕沒那么容易。
今年居住用地供應363.3公頃
4月14日,深圳公共資源交易中心微信公眾號掛牌深圳首批集中出讓的6宗宅地,總建筑面積約91萬平,起始總價約105.76億,將于5月13日集中競拍。
與廣州、北京此前公布的首批48宗、30宗地塊相比,深圳的首批掛牌土地略顯單薄。
4月25日,深圳規自局發布《深圳市2021年度建設用地供應計劃》。

今年,深圳計劃供應建設用地總量1130公頃,其中,居住用地363.3公頃,產業用地171.4公頃,民生設施用地543公頃,商服用地52.3公頃。

注:文章為作者獨立觀點,不代表資產界立場。
題圖來自 Pexels,基于 CC0 協議
本文由“房產大象”投稿資產界,并經資產界編輯發布。版權歸原作者所有,未經授權,請勿轉載,謝謝!

房產大象 









